Rocker Molding Retainer Clip - Honda (91513-SJK-003)
Genuine OEM Honda Parts & Accessories - 91513sjk003
Details
- Brand:
- SKU:
91513-SJK-003
- Other Names:
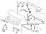
Rear Rocker Molding Clip, Finish Molding Clip, Spoiler Assembly Clip, License Molding Clip, Spoiler Clip, License Pocket Clip, Lower Trim Panel Clip, Trunk Lid Trim Clip, Upper Molding Clip, Cladding Clip, License Plate Light Panel Clip, Lift-Gate Finish Panel Clip, Clip
- Description:
2012-14. 2009-11. 2010-11. Coupe, with si. 2008-10. #1. 2013-15, hf. 2013-15, si. Sedan, 2011-12, #2.
Vehicle Fitment
| Year | Make | Model | Body & Trim | Engine & Transmission |
|---|
Also Purchased
Honda


This Rocker Molding Retainer Clip for your 2007-2025 Honda vehicle is backed by a 12-month manufacturer warranty. Being an original factory part means you are getting the highest quality parts on the market and at direct-to-you prices! Honda Parts & Accessories Limited Warranty.
